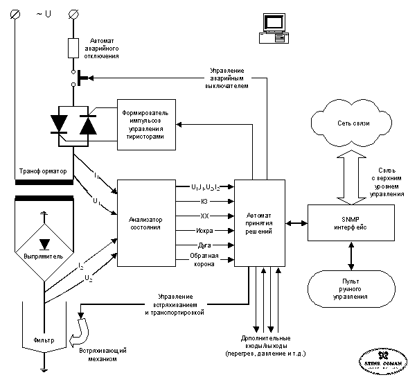
Схема работы системы управления электрофильтрами.